الرئيسية
المستقلين
بتول ا.
معرض الأعمال
صالون كلاسيك
معرض الأعمال
اطلب عمل مماثل
تفاصيل العمل
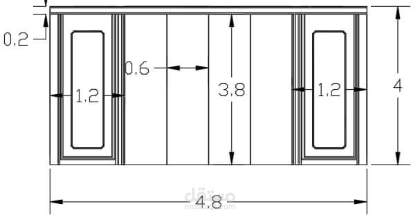
تصميم صالون كلاسيك لمنزل في دمشق
بطاقة العمل
اسم المستقل
بتول ا.
عدد الإعجابات
0
عدد المشاهدات
171
تاريخ الإضافة
22/04/2021
تاريخ الإنجاز
23/12/2020
المهارات
3ds Max
فوتوشوب
أوتوكاد
×